手動球閥

Q11F三片式不銹鋼球閥
產品簡介
News Center
新聞中心公稱壓力: PN 1.6,2.5,4.0,6.4MPa (1000WOG)
強度試驗壓力: PT2.4,3.8,6.0,9.6MPa
連接方式:內螺紋(G螺紋,NPT螺紋),平焊接,承插焊接
低壓氣密封試驗壓力: 0.6MP
適用介質: Q61F-(16-64)C水,油品,氣;
Q61F-(16-64)P硝酸類;
Q61F-(16-64)R醋酸類
適用溫度: -20~180℃
螺紋類型:G/ NPT/ BSPT/ BSP/ DIN259/2999
應用于范圍:化工、石化、石油、造紙、采礦、電力、液化氣、食品、制藥、給排水、市政、機械設備配套、電子工業,城建等領域
| 零件名稱 | Q11F-(16-64)C | Q11F-(16-64)P | Q11F-(16-64)R |
| 閥體 | WCB | CF8 | CF8M |
| 閥蓋 | WCB | CF8 | CF8M |
| 球體 | 304 | 304 | 316 |
| 閥桿 | 304 | 304 | 316 |
| 密封圈 | 聚四氟乙烯 (PTFE) | ||
| 填料 | 聚四氟乙烯 (PTFE) | ||

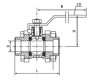
| DN | L | D | H | E |
| 15 | 68 | 15 | 57 | 105 |
| 20 | 81 | 20 | 63 | 118 |
| 25 | 93 | 25 | 77 | 128 |
| 32 | 108 | 32 | 80 | 137 |
| 40 | 122 | 38 | 92 | 170 |
| 50 | 141 | 48 | 102 | 170 |
| 65 | 175 | 64 | 115 | 215 |
| 80 | 200 | 80 | 136 | 235 |
| 100 | 267 | 100 | 178 | 318 |
在線留言